5763
Ford будет устанавливать фейковый переключатель передач в электромобиле: зачем это нужно
— Технологии&Авто

Ford планирует вернуть переключатель передач в электромобиле. Да, электромобилям не нужен переключатель передач, поэтому взаимодействие с ним фактически никак не будет влиять на автомобиль (но здесь Ford заморочилась и придумала, как можно имитировать взаимодействие).
Об этом сообщает New Atlas.
Имитация переключения передач в электромобилях
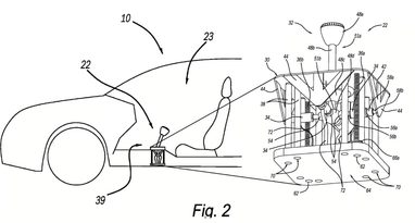
Патентная заявка Ford под названием Shifter Assembly For Electric Vehicle была опубликована 20 марта под номером 2025/0092947 в Патентном ведомстве США. На ней изображен обычный рычаг КПП, установленный в коробку.
Патентная заявка демонстрирует рычаг коробки, который повторяет различные модели ручной коробки, такие как последовательная гусеница вверх/вниз или шестиступенчатая H-схема.
В заявке на патент есть виртуальный путь, который предполагает, что эти конфигурации можно динамически изменять с помощью программного обеспечения.
Также отмечено, что эта функция «управляет потоком электрической энергии, поставляемой аккумуляторной батареей, контролируя скорость двигателей и крутящий момент, который создает каждый двигатель».
Дополнительные функции
Ford также намерена использовать тактильную обратную связь, чтобы воспроизвести физическое ощущение переключения передач, чтобы еще больше улучшить опыт.

Это устройство может обеспечивать программируемое сопротивление, ощущение переключения передач и даже жужжание — все это можно регулировать с помощью информационно-развлекательной системы автомобиля, подобно тому, как тачпад Apple MacBook имитирует щелчок.
Ford заявляет, что этой системой могут быть оснащены электромобили с аккумулятором (BEV), гибриды (PHEV), обычные гибриды и даже транспортные средства на топливных элементах.
Это означает, что независимо от типа силовой установки, технология должна быть достаточно универсальной, чтобы приспособиться к тем редким водителям, которые все еще предпочитают ручное переключение передач.
Тренд среди автопроизводителей
Имитация ручной коробки для электромобилей не совсем новая идея.
В 2022 году Toyota разработала подобную концепцию, создав имитированную механическую трансмиссию с педалью сцепления, имитирующую традиционное переключение передач путем изменения крутящего момента.
Hyundai также сделала что-то вроде Ioniq 5 N, который имеет имитацию лепестковых переключателей, создающих ощущение, похожее на переключение передач в автомобиле с ДВС.
Такие технологии делают управление электромобилем более интересным, ведь большинство из них разгоняются практически мгновенно, в зависимости от того, как сильно вы нажмете на педаль газа.
По материалам: Мета
Поделиться новостью
Также по теме
Рынок подержанных авто в Украине упал более чем на 35%: лидеры февраля
Украина создает собственный искусственный интеллект— детали от Минцифры
Jaguar готовит 1000-сильный электрический седан с тремя моторами
Audi выпустила большой автомобиль по цене Camry (фото)
Польша разрабатывает первый в Европе современный противодроновый щит
Xiaomi прекратила поддержку более 40 смартфонов — перечень
