999
Apple запатентувала унікальний гнучкий екран (фото)
— Технології&Авто
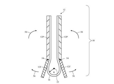
Через те, що екран смартфонів прикритий не склом, а спеціальною пластиковою плівкою, в розкладеному стані на ній утворюються вм’ятини і горбки. Таку проблему вже виявлено на Samsung Galaxy Fold і Motorola Razr: складки на їхніх дисплеях відчутні на дотик і помітні при яскравому освітленні.
Читайте також: Apple представить в 2020 році п’ять нових iPhone
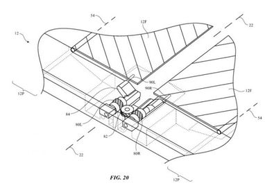
Інженери Apple пропонують рішення для цієї проблеми. Відомство з патентів і товарних знаків США 4 лютого опублікувало поданий компанією патент під назвою “Електронні пристрої з гнучкими екранами і шарнірними з’єднаннями”. У документі описано концепцію, що дозволяє складати гнучкий дисплей без утворення складок.

У схемі, запропонованій Apple, місце згину утворює петлю, залишаючи навколо шарніра трохи вільного простору і злегка випираючи назовні.

При цьому основні частини і краї дисплея щільно прилягають один до одного. Такий спосіб складання дозволяє зменшити механічне напруження, що виникає в пластиковій плівці.
За матеріалами: Телеграф
Поділитися новиною
Також за темою
«єЧергу» для легкових авто можуть запустити вже у 2026 році
Citroën представила новий концепт-кар ELO (фото)
Бездротова зарядка смартфона: як користуватися і не «вбити» батарею
Google Translate отримав живий переклад у навушниках і розширені можливості Gemini
Kindle отримав AI-помічника, який пояснює сюжет книги без спойлерів
Apple готується підвищити ціни на iPhone і MacBook у 2026 році
