873
Amazon запатентовала браслеты для контроля за сотрудниками
— Технологии&Авто
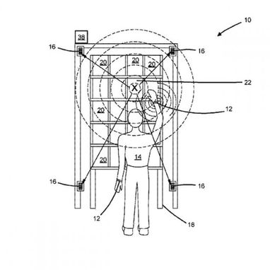
Компания Amazon запатентовала наручный браслет, который будет отслеживать положение рук работников склада и контролировать их действия. Если сотрудник начнет класть товар в неправильный контейнер, тактильная обратная связь укажет ему на ошибку. Предполагается, что такой подход позволит повысить эффективность работы сотрудников.
Об этом пишет Дело со ссылкой на The Guardian.
Читайте также: Amazon впервые стал самым дорогим в мире брендом
Дело в том, что скорость поиска — один из ключевых моментов работы Amazon. Когда покупатель делает заказ, все детали сразу же отправляются на планшеты сотрудников склада. Тогда им нужно как можно быстрее найти товар среди бесчисленных полок и отсеков, запаковать и ждать следующего заказа. Предполагается, что браслет сэкономит сотрудникам много времени и сил. Не нужно будет сканировать штрих-коды, привязанные к конкретному отсеку или лишний раз нажимать кнопки на соответствующем складском оборудовании.

Кроме того, ультразвуковой браслет будет периодически отправлять импульсы в специальный приемник сигналов, с помощью которого можно отследить, в каком из складских помещений находится сотрудник, где конкретно он ищет товар и насколько эффективно выполняет заказы. По сути, работников таким образом полностью лишат приватности: при желании начальство будет знать, сколько раз за день они почесали нос.
Amazon славится низкими зарплатами для персонала и неуемным стремлением превратить их в “живых роботов”, которые по таймеру выполняют монотонные задачи на складе. Поэтому идея тотальной слежки вряд ли понравятся сотрудникам, которые и без того уже устраивали забастовки, например, в прошлую “черную пятницу”.
По материалам: Діло
Поделиться новостью
Также по теме
ТОП-5 премиальных авто, которые быстрее всего теряют в цене за три года
Apple может выпустить iPhone-Flip в формате «раскладушки»
Lexus завершит производство LC в 2026 году
На немецких дорогах камеры с ИИ «вылавливают» водителей с телефонами в руках
Украина переходит на европейские стандарты: что изменится для водителей
В Украине будут блокироваться незарегистрированные терминалы Starlink
