876
Apple запатентувала технологію зі згортання екрана iPhone у трубочку
— Технології&Авто

Американська компанія Apple запатентувала технологію, яка дозволить згортати смартфон iPhone у трубочку, наче грошову купюру. Відповідний патент опубліковано на сайті профільного бюро США.
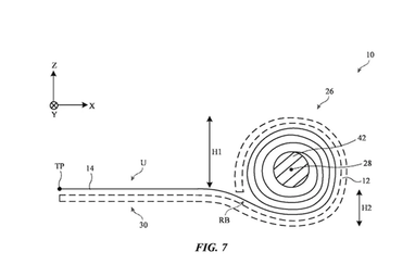
Судячи з даних у документі, патент було подано Apple ще у листопаді 2022 року, але опубліковано лише 13 липня. На кресленнях показаний електронний дисплей, що згортається.
«Дисплей може змінювати стан: у розгорнутому вигляді він використовується для перегляду, а в згорнутому — для перенесення та зручного зберігання. Також можливе використання електронного пристрою із частково згорнутим екраном», — йдеться у документі.
У конструкції використовується тонке скло та компоненти, що створюють стиск для захисту екрана при згортанні. Як зазначено у документі, патент призначено для звичайних електронних дисплеїв смартфонів.

Судячи з усього, Apple має намір застосовувати технологію для розробки майбутньої лінійки iPhone у новому форм-факторі, над яким, за чутками, вже працюють такі компанії, як Samsung і Motorola. Компанія LG випустила у продаж OLED-телевізор, який здатний повністю складатися.
Samsung досягла успіху в розробці смартфонів зі складними екранами. Компанія відома двома лінійками — Galaxy Z Flip та Fold. Також подібні розробки розвиває Huawei та інші китайські компанії. Apple поки не заявляла про офіційні плани створення iPhone зі складаним екраном.
За матеріалами: noworries
Поділитися новиною
Також за темою
Tesla може втратити ключовий ринок США — причини
Український автопарк старішає: де продають наймолодші та найстаріші автомобілі
Оператор платіжної системи PayPal вирішив створити власний банк
Google тестує персоналізовану стрічку Discover на Android
Китайський iPhone Air за пів ціни: представлено новий флагман Vivo S50 Pro mini (фото)
Nvidia придбає постачальника програмного забезпечення для ШІ
