470
Tesla запатентовала систему очистки стёкол с помощью лазера
— Технологии&Авто
Стеклоочистители являются незаменимой, но довольно архаичной системой транспортных средств. Несомненно, они научились работать автоматически по команде датчика дождя, но в их конструкции мало что изменилось за последние десятилетия. Tesla пытается предложить инновационные методы очистки стёкол не только в автомобилях, но и в системах генерации электроэнергии при помощи солнечных панелей.
Соответствующий патент удалось обнаружить ресурсу Electrek в базе американского ведомства USPTO. Оно удовлетворило заявку Tesla на регистрацию патента, описывающего метод удаления загрязнений со стеклянной поверхности при помощи лазерных импульсов.
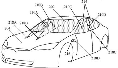
Совокупность датчиков и излучателей, по замыслу американских инженеров, должна способствовать удалению загрязнений с отдельных областей ветрового стекла, посылая направленные импульсы лазерного излучения регулируемой мощности.

В патенте упоминаются и боковые стёкла электромобиля — нельзя исключать, что система очистки будет предусмотрена и для них. Одновременно Tesla предполагает использовать такую систему на солнечных панелях. Известно, что слой пыли и грязи способен существенно снизить эффективность работы солнечных батарей, поэтому в сфере энергетики описываемый патент может найти не менее актуальное применение.
По материалам: 3dnews.ru
Поделиться новостью
Также по теме
Porsche отзывает более 170 тысяч автомобилей в США
Эксперты назвали 4 кроссовера 2025 года, на которые стоит обратить внимание
LG представила робота CLOiD, который может выполнять ряд бытовых задач
Что нужно проверить перед покупкой подержанного автомобиля
Почему сенсорные экраны опасны для водителей: исследование
Google добавляет новые ИИ-функции в Gmail и переходит к «эпохе Gemini»
