868
Apple разработала выдвижные бамперы для самоуправляемого автомобиля
— Технологии&Авто
Появившаяся в Сети информация свидетельствует о том, что Apple планировала применить в самоуправляемом автомобиле, разрабатывавшемся втайне от публики в рамках проекта «Project Titan», выдвижные бамперы.
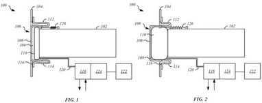
Ведомство по патентам и товарным знакам США (United States Patent and Trademark Office, USPTO) опубликовало во вторник патент под названием «Выдвижные бамперы для транспортных средств».
Заявка на его регистрацию была подана Apple в 2015 году.
В документе предлагается использовать надувную конструкцию, расположенную сзади бампера, для изменения его положения. Сам бампер может быть жёстким, иметь U-образное поперечное сечение и даже поддерживать линейное скольжение при перемещении между двумя положениями. Для более лёгкого перемещения не исключается также возможность использования пружинного механизма.

По материалам: 3dnews.ru
Поделиться новостью
Также по теме
Apple готовит юбилейный iPhone: 6 функций, которые могут появиться
Meta работает над новой ИИ-моделью: что известно об Avocado
Meta переносит запуск очков смешанной реальности Phoenix на 2027 год
OpenAI представила новую модель GPT-5.2, которую компания называет самой мощной и точной в истории
Disney инвестирует $1 миллиард в OpenAI
НДС на электрокары в 2026 году: Гетманцев рассказал детали
