23573
Когда машины полетят: каким будет транспорт будущего
— Технологии&Авто
Масштабные пробки, огромное количество ДТП, экологические проблемы, треть зарплаты на бензин – современная транспортная система доставляет нам кучу проблем. Но лет через 5 каждый сможет купить электромобиль, а вскоре дорога от Киева до Львова займет полчаса.
Идеи из фантастических фильмов уже воплощают в лабораториях и на испытательных полигонах, и осталось несколько лет до того момента, как мы забудем о пробках.
Мы будем ездить на автомобилях, работающих на электроэнергии
Когда цены на бензин такие, что лучше даже не смотреть на ценник, приходится искать альтернативу. На дорогах появляются машины на газе, водороде и электричестве. Электричество — самый перспективный вид топлива и реально может заменить бензин. Первыми коммерчески успешными электромобилями стали авто компании Tesla, а вскоре на рынке появились аналоги от Nissan, BMW, Renault, Toyota, KIA и других производителей. С каждым годом электромобили становятся экономнее, безопаснее, и что самое главное, — доступнее. Эксперты заявляют, что к 2022 году они будут дешевле, чем традиционные аналоги. Это значит, что уже в ближайшем будущем мы пересядем на экономные и экологически безопасные авто.

Все машины будут самоуправляемыми
Автокатастрофы — одна из главных проблем современных городов. Ежегодно в мире в ДТП погибает больше миллиона человек. Разработка самоуправляемых авто ведется для того, чтобы снизить количество жертв автомобильных аварий и сделать дороги более безопасными. Лидер этой отрасли, компания Google, уже на протяжении нескольких лет тестирует свои беспилотные автомобили, добавляет в них новые функции и модифицирует сам корпус. Согласно исследованиям, внедрение самоуправляемых авто сократит количество жертв на дороге. Только США это поможет уберечь жизни около 21 тысячи людей ежегодно.
Появится общественный транспорт, который будет ездить над пробками
Проблемы наземного общественного транспорта волнуют как жителей, так и чиновников. В Киеве ему даже выделили собственную полосу, но все равно в час-пик все маршрутки и троллейбусы стоят в пробках. Недавно в Китае представили Transit Elevated Bus (TEB) — прототип автобуса будущего, который ездит над автомобилями. Он не мешает движению машин — они могут проехать под ним, как в туннеле, в то время как пассажиры будут находиться в кабине сверху. Разработчики верят, что TEB разгрузит городской трафик и уменьшит загрязнение воздуха, так как будет работать на электрической или солнечной энергии.
Междугородний транспорт станет еще быстрее и дешевле
Разработки высокоскоростного междугороднего транспорта ведутся много лет. Некоторое время назад перспективными были поезда на магнитной подушке, но их производство остановили из-за дороговизны. Сейчас идет разработка технологии Hyperloop — поездов, которые будут ходить в специальных трубах с пониженным давлением.
В эти трубы встроят двигатели, которые и будут его разгонять. Благодаря такой конструкции максимальная скорость поезда составит 1200 километров в час. Если сейчас дорога от Киева до Львова на Интерсити занимает пять часов, то на Hyperloop ты проедешь это же расстояние за полчаса. Согласно заявлениям разработчиков, билет на такую поездку будет стоить около 20 долларов — 500 гривен по нынешнему курсу.
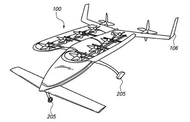
Летающие автомобили станут реальностью
Почти в каждом фантастическом фильме персонажи передвигаются на летающих автомобилях. Мы наблюдаем за этим только в кино, но не представляем, что в будущем так же будем летать на таких воздушных суднах. Уже сейчас ведется работа над подобным видом транспорта. Недавно стало известно о стартапах Zee.Aero и Kitty Hawk, которые занимаются созданием летающего автомобиля. Zee.Aero разрабатывает компактный самолет, работающий на электричестве, который умеет взлетать и садиться вертикально. Kitty Hawk работает над созданием судна, которое похоже на большой квадрокоптер.

Транспортная система изменится тогда, когда человечество начнет доверять современным технологиям. Вместо того чтобы покупать новый джип, работающий на дизеле, лучше приобрести электромобиль. Пусть пока они несовершенны, но с каждым днем улучшаются и становятся дешевле. Это пока что электромобили Tesla дорогие, через 5 лет их сможет позволить себе любой автомобилист.
По материалам: businessviews
Поделиться новостью
Также по теме
Ferrari возродила свой самый знаменитый суперкар в новом формате (фото)
Xiaomi анонсировала новые умные часы Redmi Watch 6
Новый Toyota RAV4 выходит на европейский рынок в 2026 году
Гибриды на самом деле не намного лучше для окружающей среды, чем бензиновые автомобили, — исследование
Компании Pony AI и Stellantis будут тестировать роботокси в Европе
WhatsApp ограничит количество сообщений незнакомым людям
