1088
Hyundai разработала технологию зарядки электромобилей на ходу
— Технологии&Авто

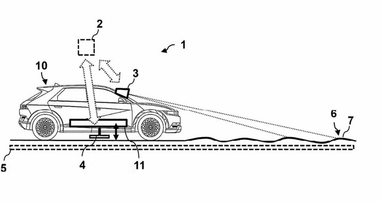
Компания Hyundai зарегистрировала патент новой технологии беспроводной зарядки, которая позволит электромобилям заряжаться при движении даже на неровных поверхностях.
Новый патент корейского автопроизводителя обрисовывает технологию беспроводных зарядных дорог.
В настоящее время в мире проводятся экспериментальные испытания нескольких участков таких дорог в США, Франции, Норвегии и Швеции, но все эти проекты еще далеки от широкого внедрения, ведь работают только при абсолютно ровной поверхности.

В то же время технология Hyundai предлагает более практичное решение, которое решит проблему неровного покрытия большинства мировых дорог.
Решение Hyundai заключается в использовании зарядного приемопередатчика под авто, который расположен на регулируемом по высоте индуктивном союзе передачи энергии, который может автоматически подниматься и опускаться, изменяя свое положение в зависимости от ровности дороги.
Кроме того, инженеры компании считают, что в будущем работу системы можно улучшить благодаря использованию камеры для считывания дорожного покрытия и соответствующей настройке подвески автомобиля.
Инженеры считают, что это позволит регулировать зарядный приемник для поддержания оптимального положения даже на неровной дороге.
Хочу выгодно приобрести автогражданку
По материалам: Телеканал 24
Поделиться новостью
Также по теме
Meta вводит новую комиссию за рекламу
Какие авто искали украинцы в начале 2026 года (инфографика)
ЕС может разрешить смартфоны без зарядного порта
Zoom обновляет инструменты для работы
Photoshop вводит ИИ-ассистента, заменяющего профессиональное редактирование фотографий текстовым или голосовым промптингом
Представлен новый Nissan X-Trail 2026 (фото, видео)
