967
Mazda отримала патент на унікальний гібридний автомобіль із роторним двигуном
— Технології&Авто
Mazda і роторні мотори. Цій історії вже не один десяток років. І ось компанія знову підклала дров у багаття очікування, яке ніяк не згасне. Тепер фанати роторних двигунів чекатимуть гібридного автомобіля з роторним двигуном.
Про новий патент Mazda у цій галузі повідомляє Motor1.
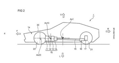
Йдеться про автомобіль із заднім приводом, який рухається за допомогою гібридної силової установки. В її основі лежить поєднання роторного бензинового двигуна й електричного мотора.
Це не перший патент, який Mazda отримала на гібридну установку із роторним двигуном. Проте патент, отриманий кілька років тому (і досі не використаний у реальному виробництві), був не настільки революційним, як новий.
Щойно оформлений патент описує абсолютно нову платформу із заднім приводом, у якій бензиновий двигун із трьома роторами розташований у передній частині автомобіля, але приводить у рух задню вісь.

Востаннє конфігурацію із трьома роторами Mazda використовувала у своїх автомобілях ще на початку 1990-х.
Зрозуміло, сам факт наявності патенту ще не означає, що такий автомобіль колись зійде з конвеєра. Так, чутки про задньоприводний купе Mazda з роторним двигуном ходять ще з 2015 року, коли були показані фото концепт-кара RX-Vision.
За матеріалами: НВ
Поділитися новиною
Також за темою
Як оформити індивідуальні номерні знаки з графічним елементом
Коли страхова компанія може висунути регресну вимогу
Кількість абонентів 5G у світі досягне 6,4 млрд у 2031 році
З 2026 року стартує новий швидкісний залізничний маршрут у Європі
Який штучний інтелект найнадійніший
Subaru анонсувала нові спортивні авто
