458
Розумні окуляри Apple дозволять розблокувати iPhone без аутентифікації
— Технології&Авто
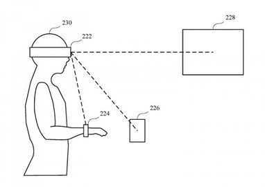
Зарубіжний портал Appleinsider розповів про цікавий патент Apple, який було отримано з бази даних відомства з патентів і товарних знаків США. Додані схематичні зображення розкривають одну з можливих функцій розумних окулярів компанії. Під час того, як користувач носить пристрій – всі інші гаджети Apple навколо нього можуть бути розблоковані без введення пароля.
Подібна функція вже використовується в Apple Watch і Mac. Якщо у користувача є обидва пристрої, то поки годинник на руці і він розблокований, за його допомогою можна без пароля входити в усі комп’ютери Mac поблизу, що належать йому. Працює ця функція у Mac і Apple Watch за допомогою Wi-Fi і Bluetooth.

Так ось з розумними окулярами ідея така сама: поки вони перебуувають на голові і розблоковані, можна входити без введення пароля або аутентифікації за допомогою Face ID або Touch ID в систему iPhone, iPad або Mac. Жодних затримок при цьому не буде. Що досить цікаво – в патенті описується кілька рівнів роботи цієї функції.
Можливо, при розблокуванні за допомогою розумних окулярів в системі будуть працювати не всі функції — для забезпечення повного доступу знадобитися звичайна аутентифікація через пароль, сканер обличчя або відбиток пальця. Водночас, можливо, компанія передбачає неможливість такої авторизації в сторонніх додатках (наприклад, банківських клієнтах).
За матеріалами: 3dnews.ru
Поділитися новиною
Також за темою
Porsche відкликає понад 170 тисяч автомобілів у США
Експерти назвали 4 кросовери 2025 року, на які варто звернути увагу
LG представила робота CLOiD, який може виконувати низку побутових завдань
Що потрібно перевірити перед купівлею вживаного автомобіля
Чому сенсорні екрани небезпечні для водіїв: дослідження
Google додає нові ШІ-функції у Gmail та переходить у «епоху Gemini»
