439
LG придумала розкладний смартфон-книжку з двома загнутими екранами
— Технології&Авто
Управління США з патентів і торгових марок (USPTO) опублікувало патент на черговий незвичайний смартфон південнокорейської компанії LG Electronics.
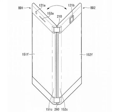
Документ має лаконічну назву «Мобільний термінал» (Mobile terminal). У ньому описується розкладний апарат у форм-факторі книжки. Як можна бачити на ілюстраціях, на зовнішній стороні кожної з половинок гаджета розташується екран, що загинається в області шарнірного з’єднання.

Над дисплеєм у фронтальній частині розмістяться динамік і одинарна камера. Над тильним екраном також буде встановлена камера: на зображеннях показаний одинарний модуль, але теоретично тут можуть бути кілька оптичних елементів і спалах.

Наявність двох дисплеїв на протилежних сторонах корпусу-книжки дозволить реалізовувати різні режими роботи. Наприклад, розгорнувши пристрій, користувач зможе трансформувати його в невеликий планшет.
У закритому стані на загнутих бічних частинах дисплеїв можуть відображатися допоміжні елементи управління, корисна інформація та ін.
Заявку на патент було поданоще в квітні 2018 року, але зареєстровано розробку тільки зараз. Чи з’явиться смартфон з описаною конструкцією на комерційному ринку, поки не ясно.
За матеріалами: internetua.com
Поділитися новиною
Також за темою
У безкоштовній версії ChatGPT тепер можна буде використовувати Photoshop
Найпоширеніша помилка водіїв на льоду (думка експерта)
Peugeot повертає лінійку GTi у електричному форматі
Rivian представила автопілот за 50 доларів
В Норвегії будують найдовший і найглибший підводний автотунель у світі
Найпопулярніші гібридні авто листопада
