619
В Apple з'явиться кнопка вмикання зі зворотним зв'язком
— Технології&Авто
Компанія Apple отримала патент на нову кнопку для ввімкнення мобільних пристроїв.
Про це повідомляє GSM Arena.
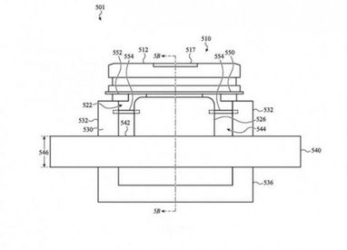
Нова кнопка буде займати значно менше місця, в порівнянні зі звичайною. Крім того, вона оснащена технологією зворотного зв’язку зі здатністю зчитувати силу натискання.
Після подачі живлення система активує котушку, переміщаючи магніт. Це забезпечує тактильний зворотний зв’язок з діапазоном 0,01 мм. Також пристрій оснащений датчиком тиску для відстеження факту натискання і його сили.

Технологія дозволить створити програмований зворотний зв’язок. Відповідно до патенту, компанія сподівається використовувати новинку як нову кнопку вмикання iPhone.
Очікується, що спектр застосування таких кнопок стане значно ширшим, якщо технологія “приживеться”. Вона дозволить створити надтонку клавіатуру для iPad. Про терміни виходу новинки на ринок не відомо.
За матеріалами: Корреспондент.net
Поділитися новиною
Також за темою
Український автопарк старішає: де продають наймолодші та найстаріші автомобілі
Оператор платіжної системи PayPal вирішив створити власний банк
Google тестує персоналізовану стрічку Discover на Android
Китайський iPhone Air за пів ціни: представлено новий флагман Vivo S50 Pro mini (фото)
Nvidia придбає постачальника програмного забезпечення для ШІ
Meta закрила застосунок Facebook Messenger для Windows і Mac
