630
У Apple може з'явитися миша зі змінною формою (патент)
— Технології&Авто
Управління США з патентів і торгових марок (USPTO) опублікувало патентну документацію на цікаву розробку Apple — миша зі змінною формою.
Ідея полягає в тому, щоб дозволити маніпулятору адаптуватися під руки різного розміру і хвати різного типу, скажімо, кігтевий, пальцевий і долонний.
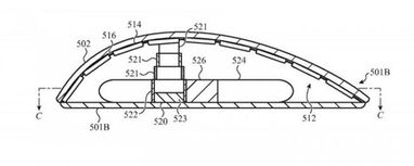
Apple пропонує інтегрувати всередину миші спеціальні електричні приводи, які дозволять підніматися або опускатися верхній частині корпусу. Аналогічно можуть розсуватися або зрушуватися бічні вставки.
Для того щоб уникнути появи щілин при трансформації і забезпечити цілісність всієї конструкції, маніпулятор може бути обладнаний корпусними елементами, що перекривають один одного.

Таким чином, за задумом «яблучної» імперії, користувачі зможуть змінювати форму миші на свій розсуд. А це підвищить комфорт роботи і знизить напругу в руці.

Втім, поки що розробка існує тільки на папері. Про те, коли подібний маніпулятор може з’явитися на комерційному ринку, нічого не повідомляється.
За матеріалами: 3dnews.ru
Поділитися новиною
Також за темою
Штрафні бали для водіїв за порушення ПДР — як це може працювати в Україні
ТОП-10 найпопулярніших імпортованих вживаних авто віком до 5 років в Україні
ТОП-7 популярних авто, яких слід уникати (причини)
Samsung представила нову гарнітуру — конкурента Apple Vision Pro
Wuling випустила бюджетний мініелектрокар (фото)
Кібератака на Jaguar Land Rover коштувала Британії 2,5 млрд доларів
