1608
Google создаст смартфон c восемью вспышками (ФОТО)
Компания Google в заявке, поданной в Патентное ведомство США (USPTO), предложила оснащать смартфоны со встроенными камерами не одной, а несколькими фотовспышками.
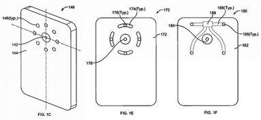
Расположение вспышек (светодиодов) на корпусе смартфона может быть разным, следует из приложенных к заявке иллюстраций. На одной из картинок восемь светодиодов образуют «кольцо» вокруг объектива камеры.

Иллюстрации из патентной заявки Google
На второй иллюстрации лампы снабжены рассеивателями, а на третьей все вспышки используют один и тот же источник света.
Вспышки способны работать в различных режимах. Они могут включаться все вместе и одновременно, создавая интенсивный свет. Если снимаемая сцена не требует яркого освещения, могут быть задействованы отдельные светодиоды.

Изображение с сайта Патентного ведомства США
Наконец, пользователь сможет сделать несколько снимков одной и той же сцены, включая разные лампы, а затем совместить полученные изображения в одно по принципу HDR.
Заявку, в которой описывается смартфон с несколькими вспышками, Google подала в Патентное ведомство в сентябре 2011 года, а соответствующий патент получила 29 января 2013 года. Отметим, что разработки, описанные компаниями в патентах, не всегда находят воплощение в реальной жизни.
По материалам: Лента.РУ
Поделиться новостью
Также по теме
Украинская энергетика изменится навсегда: ключевые трансформации
Украина переходит на европейские стандарты: что изменится для водителей
В КГГА объяснили, почему у киевлян временно исчезает горячая вода
Что делать, если утрачено свидетельство о праве собственности, выданное до 1 января 2013 года
«Киевстар» продает часть акций компании на бирже
Сколько стоит час работы — сравнение Украины и Европы
